管道轉運機械手發明介紹[碳化硅換熱器生產用]
錢橋化工機械發明公開了一種實用新型管道轉運機械手,包括配重箱、移動部、立柱、升降部、第一旋轉部、第二旋轉部和夾持部,配重箱的頂部固定設有立柱,配重箱的底部設有移動部,立柱上安裝升降部,第一旋轉部固定再升降部上,第二旋轉部設置在第一旋轉部上,夾持部安裝在第二旋轉部上,本實用新型提供了一種搬運方便、提高效率、安全可靠、適應新的生產設備的管道轉運機械手。
技術領域
[0001]本實用新型涉及化工機械設備領域,更具體涉及一種管道轉運機械手。
背景技術
[0002]化工領域中在很多的情況下對運輸管道、換熱器的管道內壁以及換熱管的內壁等元件進行防腐蝕處理,通常在需要保證整體壓力強度的情況下又需要具有防腐蝕性能的要求,碳化硅管雖然能夠防腐,但是硬度和抗壓性較弱,因此在鋼管的內壁進行搪瓷,能夠較好的實現上述目的。
[0003]在加工生產的過程中需要對金屬管材進行焊接、打磨、瓷釉的噴涂等諸多工序,在現有的加工過程中,對于較重的管材都是利用行車或者叉車進行搬運,這就提高了生產成本,而且行車、叉車不能隨時待命,影響生產效率,同時管材是圓形的搬運中容易滾動,也不安全;對于較輕的管材都是利用人工搬運,對于這樣的搬運造成工人勞動量大、不安全、效率也低。
實用新型內容
[0004]為了解決上述問題,本實用新型的目的在于提供了一種搬運方便、提高效率、安全可靠、適應新的生產設備的管道轉運機械手。
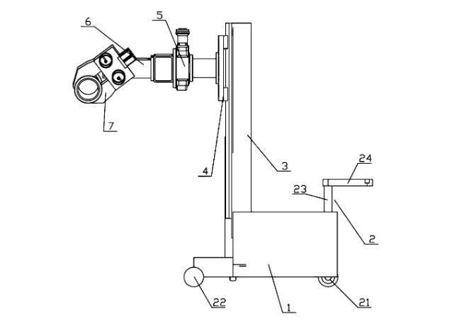
[0005]根據本實用新型的一個方面,提供了管道轉運機械手,包括配重箱、移動部、立柱、升降部、第一旋轉部、第二旋轉部和夾持部,配重箱的頂部固定設有立柱,配重箱的底部設有移動部,立柱上安裝升降部,第一旋轉部固定再升降部上,第二旋轉部設置在第一旋轉部上,夾持部安裝在第二旋轉部上。
[0006]在一些實施方式中,升降部包括升降部件和第一安裝板,升降部件沿立柱豎直設立,第一安裝板安裝在升降部件上,升降部件驅動第一安裝板沿立柱豎直方向往復移動,第一旋轉部固定設置再第一安裝板上。
[0007]在一些實施方式中,升降部件為伺服油缸。
[0008]在一些實施方式中,第一旋轉部包括回轉盤、第一液壓馬達和第二安裝板,回轉盤一側固定在第一安裝板上,第一液壓馬達驅動回轉盤,第二安裝板固定再回轉盤的另一側,第一液壓馬達驅動回轉盤帶動第二安裝板旋轉 360°,第二安裝板上固定連接第二旋轉部。
[0009]在一些實施方式中,第二旋轉部包括支撐臂、第二液壓馬達、轉軸和直角減速機,支撐臂的后部固定在第二安裝板上,轉軸穿過支撐臂的前部且通過軸承與支撐臂鉸接,轉軸中間設有直角減速機,第二液壓馬達驅動直角減速機運轉進而帶動轉軸旋轉0°-90°。
[0010]在一些實施方式中,轉軸的兩端均設有夾持部,夾持部包括安裝架、第一卡爪、第二卡爪和驅動件,第一卡爪固定再安裝架上,第二卡爪與安裝架鉸接,驅動件驅動第二卡爪向第一卡爪移動并與第一卡爪成合攏狀。
[0011]在一些實施方式中,移動部包括轉向輪、移動輪、轉向軸和轉向手柄,轉向軸穿過配重箱且與配重箱通過軸承連接,轉向軸的底部連接轉向輪,轉向軸的頂部連接轉向手柄,移動輪兩個設置在配重箱靠近立柱一側。
[0012]在一些實施方式中,配重箱內固定若干配重塊。
[0013]本實用新型通過利用第一旋轉部實現對管道的豎直或者水平放置,以適應新的生產設備;利用第二旋轉部以及夾持部實現對管道的夾取,更加安全可靠同時提高效率;利用升降部便于將管道放置到不同的高度;同時利用移動部便于將本實用新型移動到規定的位置,而且能夠使用車間內復雜的情況。
附圖說明
[0014]圖1是本實用新型管道轉運機械手的結構示意圖;
[0015]圖2是本實用新型管道轉運機械手的抓取示意圖;
[0016]圖3是本實用新型管道轉運機械手的一使用狀態圖;
[0017]圖4是本實用新型管道轉運機械手的另一使用狀態圖。
當前位置: